东莞市力高大同自动化设备有限公司
0769-22802588 18922995227
前言
由于IGBT在功率半导体的市场日趋重要,使用新的测试方法来测试产品特性及生产是必须的。在此介绍的模组化测试系统是瞄准功率电晶体的静态及动态量测,讨论的是IGBT设计者或是此类设备采购者最关切的需求。首先列出IGBT测试所须的线路图并定义所有的参数,最后再就控制系统的选择举一实例来说明该系统的基本架构。

IGBT测试系统需求
近年来,电子工业不断发展功率元件及系统,而电力电子工业中使用IGBT装置的数量也急速增加。由半导体至电力产品之制造厂皆希望在这些产品中改善成较好的效率及降低所有工业制程步骤的成本,从产品的研发至最后产品品质的控制过程皆必须被完善控制。对这些所有的步骤,测试相对地变的非常重要,且必需准确及可靠。对在生产过程而言,
测试设备须具备多样的特点来配合不同的测试需求。研发工程师需要知道其特性便于其设计,生产的人员须要快速且容易使用的工具,可控制他们的生产制程,品质管制人员则需要检查他们所组合的产品的特性及收集他们的结果来做统计分析。
(一)多用途性(Versatility)
现代的测试设备所须的功能,必须能不被限制其最大电流及电压之供给。目前IGBT的产品其电流可通过1200A及阻断电压可高达3300V,但不久之后IGBT的产品即会有达到4500V及2000A的能力。且无人可预测未来其电压及电流可达到多少,再者,现今IGBT
的测试设备,也须能测试新元件MCTS ( MOS Contrlled Thyristort) 或是IGCT (Integrated
Gate-Commutated Thyristor)。
因此,测试设备的评估上,须能适应及符合未来可能的发展,其不论是硬体,如电压电流产生器或软体上。
IWATSU公司推出的CS-3000给用户提出了最佳的解决方案
(二)操作简单(Ease of Handling)
测试设备除了上述之特色外,应仍保持操作简单及效率佳的能力。达此目的最佳之方法即是使用者不须具备特殊训练即可操作此设备。如有使用晶体管特性图示仪的用户,操作起来会更加方便。此测试系统亦可经常地改变测试的半导体元件的型式(通常一天数次),对新的半导体元作的型式其可能会须要不同的制具(jig),或是更复杂的驱动闸控制,或是一缓冲器
(Sunbber) 的保护等。因此,使用模组化系 统即可达到上述之需求。在一个基本的测试系统上,加上一些可更换的测试单元,使其可执行不同范围产品的量测。
(三)安全性(Safety)
IGBT的测试系统因其可提供非常高的电压输出,对操作者来讲是有一
潜在的危险性,当在操作高电压及大电流时,操作员的安全性应予以考虑,即该设备须在不同国家的规范中皆可符合其安全标准。
在执行测试时,在危险的区域应使用滑动式门锁定而予以保护,所有参数皆应设置于安全的工作区域中,所有的保护措施的控制皆应由硬体部份来控制,而不是软体来控制。很显然的,在整条生产线上(研发测试时),时间是一个很重要的因素,因此,安全系统必须要很方便,而尽可能地对测试的速度影响愈小愈好。
静态测试(Static tests)
此测试之目的在提供元件(device)的详细特性,让设计者能精确地预测元件在稳态(Steady
state)情况时之行为,此可协助使用者选择最佳的元件来用于他的应用中,更进一步地让其对与半导体元件相连接的设备如:电压钳式单元,闸极驱动,冷却系统等的设计更为妥切。
(一)集射极崩溃电压 (Collector Emitter Breakdown Voltage) VCEs
量测于特定的集极电流IC下闸极短路至射极时,跨于集、射极两端之电压为VcEs 如图1, IGBT
的集射极崩溃电压是会随着介面(Junction)温度增加而增加的(典型对600V之IGBT 会有0.7V/℃)

(二)集极至射极的泄漏电流IcEs [或称为集极的截止(Cut-off )电流]
在额定的集射极电压和闸射极短路下之集极电流为IcEs值(如图2),
IcEs的量测通常在25℃及最大的工作介面(Junction)温度,且集极泄漏电流 亦会随介面温度升高而增加。因此,在测试期间限制电流流过及避免
thermal升高是很重要的。

(三)集极至射极的饱和电压 (Collector to emitter saturation voltage) VcEsat
VcEsat(图3)是在特定的集极电流,闸射极电压及介面温度时之集射极导通电压VcEsat是相当重要的特性,因为其会决定导通之损失,在大的
极电流时,测试的脉冲必须非常短,如此不致有过多之损失。
(四)二极体顺向电压(Diode Forward Voltage) VF
VF(图4)是指IGBT模组中的飞轮二极体(Freewheeling Diode)在特定电流及介面温度时之顺向导通电压值。

(五)闸极临界电压(Gate threshold Voltage) VGeth
VGeth(图5)是指在特定集极电流及闸极短路至集极时之射极的电压值。
当闸射极电压小于临界值时IGBT是OFF状态,因此闸极临界电压即是闸射极电压使IGBT导通并流过特定的集极电流。VGEth是随着介面温度遽增而递减的(-11mV/℃)。

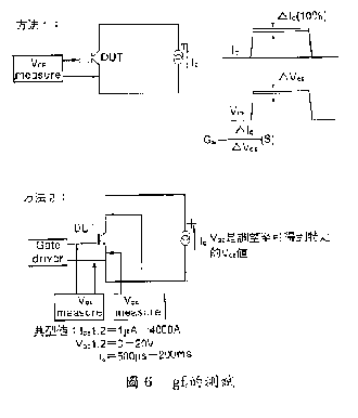
(六 )跨导(Transconductance) gfs
跨导(gfs)(图6)是于特定集极电流时,集极电流和闸射极电压之商数 。
跨导是用来表示IGBT增益的方式。由于跨导的量测是在清楚严格的特定条件下所做的两个量测之值,因此,测试设备的精准性对测试结果有很大的影向力。

第二种方法是调整闸射极电压至特定的集射极电压(VP)并思考下列式子:
△ VGE = △Vp
IGBT的顺向跨导是会随着介面温度升高而增加的,其原因在于定闸极电压时,增加集极电流时,因电流Thermal
run-away而会使晶片温度升高,因此IGBT 并不被建议来当做一个线性放大器使用。
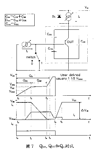
(七)闸极电荷(QGE, QcG, QG)及闸极电容(Cies, Coes, Cres)
QGE(图7)是由驱动电路传送。使用闸射极电压达可维持特定集极电流之电荷值。
QCE是由驱动电路传送。允许跨于闸极电容的电压,由特定之值降至最后导通值之电荷值。
QG是闸极总电荷值,是QGe是QcG及另一附加之成份之总和,此附加之值和闸极"Overdrive"电压有关由于有一些未知的杂散(stray)
电容存在电路中,所以校正脉冲是必须的。在每一测试前都会先测试杂散(Stray)电容,并用该值来修正闸极电荷/电容之值。此杂散电容会依接线及气候温度等条件而变化。
闸极电荷及电容之规格在规划闸极驱动电路及决定闸极驱动损失时是非常有用的。
(八)闸极至射极之泄漏电流IGEs
IGEs(图8)是指在特定的闸射极电压及集极短路至射极时闸极之泄漏电流
。此测试可能可以知道正或负的闸射极电压。所量测的电流是相当小的,因此,脉冲至少须维持一个电源周期的积分时间,避免因闸极电容吸收的电流所产生之误差。此量测必须在闸极电压稳定后才可进行。

(八)闸极至射极之泄漏电流IGEs
IGEs(图8)是指在特定的闸射极电压及集极短路至射极时闸极之泄漏电流
。此测试可能可以知道正或负的闸射极电压。所量测的电流是相当小的,因此,脉冲至少须维持一个电源周期的积分时间,避免因闸极电容吸收的电流所产生之误差。此量测必须在闸极电压稳定后才可进行。